Disney files patent for near instantaneous 3D printing http://www.computerworld.com/article/3063786/emerging-technology/disney-files-patent-for-near-instantaneous-3d-printing.html

Disney files patent for near instantaneous 3D printing

Like most things patent related - just because they filed a patent on it doesn’t mean it’s sound theory or that they have a working prototype. This, looks like a pipe dream.

Uh, yeah. Pipe dream. It looks more like a duplicator than 3D printer. I don’t see a reference to computer models, though it may be in the patent text. Capturing the light field digitally and reproducing it are probably possible. However: There’s nothing in those diagrams telling the light where to cure the resin, and there’s no way to cure the whole part if it casts a shadow on itself.

Maybe this is a plot device for use in one of their upcoming sci fi movies.

Yes @Eric_Davies ​, they are going to make a replica of Donald Trump, (but with real hair) and a darker complexion so that he can get the ethnic vote and take over the world!

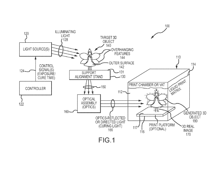
This would give you a surface cure and produce hollow shells. Very ingenious, using a laser line scanner to produce a line on a target object then using concave parabolic mirrors to reflect it into the resin. The resin cures only where the imaged line in the resin is in focus enough. Disney patent mentions working prototypes. Of course you could do this with a dlp projector, and a ‘raytracer’ to simulate line scanning of a virtual 3D model.

If you supported the model from the top you could ‘dip it’ down into the resin.

You could also do something like this with a sla, slicing the model ‘polar coordinate’ style instead of layer by layer.

If you could generate a hologram with laser light inside a container this might be possible? You would then create the entire model at once. At least a shell of it

“Would” and “proposed” equals bullshit. They do not have a working technique and it is merely an adoption of an optical illusion technique that has been used in some novelty gaming setups (mainly in Japan, I think).
I have studied those optical tricks and there is no way that you would not solidify the resin where they do not want it solid and would solidify it where they do at the same time. Pipe dream is about right.